Аппаратура для иридологических исследованийМедицина и образование / Шизофрения в раннем детском возрасте / Аппаратура для иридологических исследованийСтраница 1
Иридоскопия доступна для врачей различных специальностей, поскольку радужка хорошо видна в разрезе глазной щели. Находящиеся перед ней роговица и заполненная прозрачной внутриглазной жидкостью передняя камера ни в коей мере не препятствует этому осмотру. Основными условиями для проведения иридоскопии являются яркое освещение и наличие увеличительных луп. Источник света в виде мощной настольной (лучше матовой) лампы с экраном позади нее должен находиться на рабочем столике на расстоянии 50 см, слева и спереди от пациента на уровне его глаз. Исследование производят в затемненном помещении. Врач освещает радужку боковым фокальным светом при помощи луп +13,0 Д или +20,0 Д, имеющихся в каждой офтальмоскопической укладке. Осмотр фокально освещенной радужки производят, пользуясь любой увеличительной системой. Это может быть весьма удобная налобная бинокулярная лупа с козырьком, дающая увеличение в 2,5 раза, или лупы Гортнака, самая сильная из которых может давать 20-кратное увеличение. Однако такая методика иридоскопии не может идти ни в какое сравнение с теми возможностями, которые открывает биомикроскопическое исследование радужки. Она может служить лишь методическим ориентиром, предшествующим биомикроскопии.
Иридобиомикроскопия осуществляется при помощи специальных офтальмологических приборов — щелевых ламп.
Щелевые лампы современных моделей представляют собой комбинацию очень сильного источника света, излучающего световой пучок определенной формы, и бинокулярного стереоскопического микроскопа со значительной разрешающей способностью. Последнее обстоятельство расширяет возможности иридоскопии, поскольку изображение радужки получается не только увеличенным, но и объемным. Из отечественных аппаратов для иридоскопии можно рекомендовать щелевые лампы ЩЛ—56 и ЩЛТ. В последние годы предложено оригинальное приспособление для биомикроскопии в поляризованном свете, сконструировано устройство к щелевой лампе, позволяющее проводить исследование больного в горизонтальном положении.
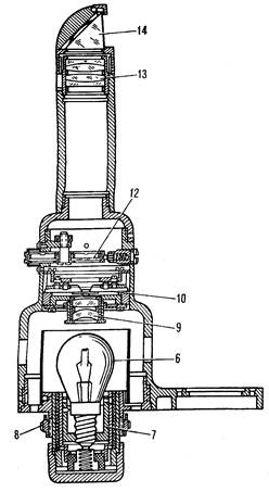
Щелевая лампа (рис. 1 а, б) состоит из осветителя, или собственно щелевой лампы (1), бинокулярного микроскопа (2), лицевого установа (3), координатного (.4) и инструментального (5) столиков. Осветитель и микроскоп смонтированы вместе на координатном столике, что обеспечивает в процессе работы их совместное перемещение в разные стороны. В основной части прибора — осветителе — источником света служит электрическая лампа СЦ—69 (6) (6В, 25Вт), питающаяся от общей осветительной сети напряжением 127 или 220 В через понижающий трансформатор. Цоколь лампы впаян в специальную центрирующую обойму (7), которая помещается в патроне в таком положении, что нить накала лампы располагается вдоль вертикальной осветительной щели. Это обеспечивает наибольшую освещенность вертикального изображения щели. Патрон в корпусе осветителя закрепляется зажимной гайкой (8). Несколько выше лампы находите конденсор в оправе (9), состоящий из двух линз, обеспечивающих концентрацию светового пучка, излучаемого лампой. Над конденсором расположен механизм щели (10).
Конструкция диафрагмы щели позволяет получить разнообразные варианты длины и ширины щели — от 0,08 до 8 мм. Размер щели регулируют рукоятками (11), одна из которых изменяет ширину щели вертикально, другая — горизонтально. Над каждой рукояткой имеется шкала, по которой можно отсчитать ширину изображения щели. В корпусе осветителя над механизмом щели расположен диск (12) с четырьмя отверстиями: одно из них свободное, в два вмонтированы светофильтры (нейтральный и сине-зеленый), в одно помещено матовое стекло. Таким образом на пути лучей, идущих от осветителя, поочередно, в зависимости от надобности, могут быть поставлены разные светофильтры, изменяющие интенсивность освещения и окраску изображения щели. На наружной поверхности осветителя видна лишь небольшая часть диска (12). Остальные его отделы скрыты в корпусе осветителя, что обеспечивает защиту светофильтров от механических повреждений и пыли. При поворотах диска, осуществляемых непосредственно рукой, он может быть закреплен в четырех положениях фиксатором.
|
|
|
Смотрите также
Современные направления прикладной психофизиологии
Проблема оптимизации обучения —
центральная для педагогики. Многочисленные школы и концепции обучения отражают
непрерывный поиск и усилия, предпринимаемые педагогами и психологами в этом
направлении. Однако существует чисто психофизиологический аспект решения данной
проблемы. В настоящее время управление процессом обучения осуществляется
главным образом с учетом результатов успеваемости, на основе тестирования
успешности обучения. При этом ...
Роль медсестры руководителя в организации лечения и ухода за больными с психическими расстройствами
Роль медицинской
сестры – руководителя в организации лечебного процесса и ухода за психическими
больными трудно переоценить, так как он включает в себя широкий круг вопросов,
без чего невозможно было бы само осуществление терапевтического подхода к
больным и, в конечном счете, регистрирование ремиссионных состояний или
выздоровление. Это не механическое осуществление врачебных назначений и
рекомендаций, а творческое решение повседне ...




